FL-921 通用滑块系列磁致伸缩绝对位移传感器是专门为机器通用型外置安装所设计,提供高精度(精度高达0.01%FS)、直接和绝对的位置检测反馈。该系列产品响应频率高、刷新快(2000Hz)、抗干扰、迟滞小(0.5ms)、精度高,适应高速运动系统的实时测控,也适应复杂的干扰环境(抗变频干扰)。无接触式的特点避免了机械磨损,保证了理论上的无限使用寿命。位置的检测依靠卡式滑块或浮动式滑块,滑块的型式由客户订货时确定。
防护等级IP65可以对于在复杂和恶劣的使用环境中的传感器提供充分的保护。DIN43650通用插接头,广泛使用于设备的液压设备中,非常便于现场的接线安装。插接头有几个特点:①通用插接头内置的特殊双投开关可以使客户选择信号的逻辑方向,如:将0~10V输出切换成10~0V输出,或相反;②特殊的V/A插接头可以将电压输出信号转换成电流输出信号,并通过内置的双投开关选择信号的方向,如:将4~20mA转换成20~4mA。电流信号传输距离可以达到500米。③电流型输出两端基准为可向内调整。④无须客户在内部接线,避免了失误的可能。
传感器的安装可以依靠两个支架很好地安装就位,并可靠接地。(http://www.fx-sensor.com 010-51295202)
一、整体安装尺寸图(插头高36mm)(http://www.fx-sensor.com 010-51295202)
二、磁滑块图(http://www.fx-sensor.com 010-51295202)
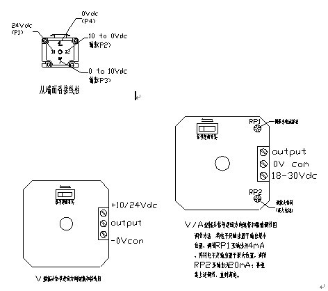
三、接线图(http://www.fx-sensor.com 010-51295202)
四、基本参数
测量型式 直线位移
输入电压 24Vdc (20.4~28.8Vdc)
输入保护 极性保护:反向电压至30Vdc,正向最高电压至36Vdc
电流消耗 50~140mA(依工作行程而变化)
绝缘强度 500Vdc (电源地与设备地之间)
输出 0~10Vdc 和 10~0Vdc 两种输出,最小负载电阻5KΩ
4~20mA 和 20~4mA 两种输出,最大负载电阻700Ω
分辨率 无限分辨(取决于控制器A/D与电源波纹)
重复精度 <±0.005%FS
线性精度 <±0.01%FS (最小±90μm)
刷新频率 1200mm行程为0.5ms / 2400 mm行程为1.0ms
4800mm行程为2.ms / 7600mm行程为5.0ms
工作温度 -40 ~ +85℃
防护等级 IP67
振动试验 5g / 10 ~ 2000Hz 符合IEC standard 68-2-6
冲击试验 50g 单次冲击,符合IEC standard 68-2-27
壳体材料 阳极硬化处理铝外壳
五、标准行程规格参数(http://www.fx-sensor.com 010-51295202)
|
行程mm (电压型) |
100,130,150,175,200,225,275,300,360,400,425,450,500,525,550,600,650,750,800,875, 900,950,1000,1100,1250,1350,1500,1600,1750,2000,2250,2500......5000 |
|
总长mm |
电压型行程数值+146mm(两端缓冲行程)+36mm(插头) |
|
电流型行程mm |
其行程均可以在电压型行程数值的基础上进行调整,如:电压型行程130mm,可以调整为100~130mm;电压型行程2000mm,可以调整为1750~2000mm |
六、订购指引
FL-921-XXXXmm-Y-Z
说明FL-921代表是通用滑块系列磁致伸缩位移传感器
XXXX代表有效行程:0075mm代表75mm;0250mm代表125mm;1250mm代表1250mm。
Y代表输出信号:V代表输出0~10Vdc和10~0Vdc两种输出;
A代表输出4~20mA和20~4mA两种输出。
Z代表磁滑块型式:1代表卡式滑块;2代表浮动式滑块。
七、产品构成及装箱单
V型输出产品:V型输出传感器本体、磁性滑块、V型插头、安装支架2个、螺丝4个、产品介绍及说明;
A型输出产品:V型输出传感器本体、磁性滑块、V/A型插头、安装支架2个、螺丝4个、产品介绍及说明;
FL-921 通用滑块系列磁致伸缩绝对位移传感器是专门为机器通用型外置安装所设计,提供高精度(精度高达0.01%FS)、直接和绝对的位置检测反馈。该系列产品响应频率高、刷新快(2000Hz)、抗干扰、迟滞小(0.5ms)、精度高,适应高速运动系统的实时测控,也适应复杂的干扰环境(抗变频干扰)。无接触式的特点避免了机械磨损,保证了理论上的无限使用寿命。位置的检测依靠卡式滑块或浮动式滑块,滑块的型式由客户订货时确定。
防护等级IP65可以对于在复杂和恶劣的使用环境中的传感器提供充分的保护。DIN43650通用插接头,广泛使用于设备的液压设备中,非常便于现场的接线安装。插接头有几个特点:①通用插接头内置的特殊双投开关可以使客户选择信号的逻辑方向,如:将0~10V输出切换成10~0V输出,或相反;②特殊的V/A插接头可以将电压输出信号转换成电流输出信号,并通过内置的双投开关选择信号的方向,如:将4~20mA转换成20~4mA。电流信号传输距离可以达到500米。③电流型输出两端基准为可向内调整。④无须客户在内部接线,避免了失误的可能。
传感器的安装可以依靠两个支架很好地安装就位,并可靠接地。(http://www.fx-sensor.com 010-51295202)
一、整体安装尺寸图(插头高36mm)(http://www.fx-sensor.com 010-51295202)
二、磁滑块图(http://www.fx-sensor.com 010-51295202)
三、接线图(http://www.fx-sensor.com 010-51295202)
四、基本参数
测量型式 直线位移
输入电压 24Vdc (20.4~28.8Vdc)
输入保护 极性保护:反向电压至30Vdc,正向最高电压至36Vdc
电流消耗 50~140mA(依工作行程而变化)
绝缘强度 500Vdc (电源地与设备地之间)
输出 0~10Vdc 和 10~0Vdc 两种输出,最小负载电阻5KΩ
4~20mA 和 20~4mA 两种输出,最大负载电阻700Ω
分辨率 无限分辨(取决于控制器A/D与电源波纹)
重复精度 <±0.005%FS
线性精度 <±0.01%FS (最小±90μm)
刷新频率 1200mm行程为0.5ms / 2400 mm行程为1.0ms
4800mm行程为2.ms / 7600mm行程为5.0ms
工作温度 -40 ~ +85℃
防护等级 IP67
振动试验 5g / 10 ~ 2000Hz 符合IEC standard 68-2-6
冲击试验 50g 单次冲击,符合IEC standard 68-2-27
壳体材料 阳极硬化处理铝外壳
五、标准行程规格参数(http://www.fx-sensor.com 010-51295202)
|
行程mm (电压型) |
100,130,150,175,200,225,275,300,360,400,425,450,500,525,550,600,650,750,800,875, 900,950,1000,1100,1250,1350,1500,1600,1750,2000,2250,2500......5000 |
|
总长mm |
电压型行程数值+146mm(两端缓冲行程)+36mm(插头) |
|
电流型行程mm |
其行程均可以在电压型行程数值的基础上进行调整,如:电压型行程130mm,可以调整为100~130mm;电压型行程2000mm,可以调整为1750~2000mm |
六、订购指引
FL-921-XXXXmm-Y-Z
说明FL-921代表是通用滑块系列磁致伸缩位移传感器
XXXX代表有效行程:0075mm代表75mm;0250mm代表125mm;1250mm代表1250mm。
Y代表输出信号:V代表输出0~10Vdc和10~0Vdc两种输出;
A代表输出4~20mA和20~4mA两种输出。
Z代表磁滑块型式:1代表卡式滑块;2代表浮动式滑块。
七、产品构成及装箱单
V型输出产品:V型输出传感器本体、磁性滑块、V型插头、安装支架2个、螺丝4个、产品介绍及说明;
A型输出产品:V型输出传感器本体、磁性滑块、V/A型插头、安装支架2个、螺丝4个、产品介绍及说明;
FL-921 通用滑块系列磁致伸缩绝对位移传感器是专门为机器通用型外置安装所设计,提供高精度(精度高达0.01%FS)、直接和绝对的位置检测反馈。该系列产品响应频率高、刷新快(2000Hz)、抗干扰、迟滞小(0.5ms)、精度高,适应高速运动系统的实时测控,也适应复杂的干扰环境(抗变频干扰)。无接触式的特点避免了机械磨损,保证了理论上的无限使用寿命。位置的检测依靠卡式滑块或浮动式滑块,滑块的型式由客户订货时确定。
防护等级IP65可以对于在复杂和恶劣的使用环境中的传感器提供充分的保护。DIN43650通用插接头,广泛使用于设备的液压设备中,非常便于现场的接线安装。插接头有几个特点:①通用插接头内置的特殊双投开关可以使客户选择信号的逻辑方向,如:将0~10V输出切换成10~0V输出,或相反;②特殊的V/A插接头可以将电压输出信号转换成电流输出信号,并通过内置的双投开关选择信号的方向,如:将4~20mA转换成20~4mA。电流信号传输距离可以达到500米。③电流型输出两端基准为可向内调整。④无须客户在内部接线,避免了失误的可能。
传感器的安装可以依靠两个支架很好地安装就位,并可靠接地。(http://www.fx-sensor.com 010-51295202)
一、整体安装尺寸图(插头高36mm)(http://www.fx-sensor.com 010-51295202)
二、磁滑块图(http://www.fx-sensor.com 010-51295202)
三、接线图(http://www.fx-sensor.com 010-51295202)
四、基本参数
测量型式 直线位移
输入电压 24Vdc (20.4~28.8Vdc)
输入保护 极性保护:反向电压至30Vdc,正向最高电压至36Vdc
电流消耗 50~140mA(依工作行程而变化)
绝缘强度 500Vdc (电源地与设备地之间)
输出 0~10Vdc 和 10~0Vdc 两种输出,最小负载电阻5KΩ
4~20mA 和 20~4mA 两种输出,最大负载电阻700Ω
分辨率 无限分辨(取决于控制器A/D与电源波纹)
重复精度 <±0.005%FS
线性精度 <±0.01%FS (最小±90μm)
刷新频率 1200mm行程为0.5ms / 2400 mm行程为1.0ms
4800mm行程为2.ms / 7600mm行程为5.0ms
工作温度 -40 ~ +85℃
防护等级 IP67
振动试验 5g / 10 ~ 2000Hz 符合IEC standard 68-2-6
冲击试验 50g 单次冲击,符合IEC standard 68-2-27
壳体材料 阳极硬化处理铝外壳
五、标准行程规格参数(http://www.fx-sensor.com 010-51295202)
|
行程mm (电压型) |
100,130,150,175,200,225,275,300,360,400,425,450,500,525,550,600,650,750,800,875, 900,950,1000,1100,1250,1350,1500,1600,1750,2000,2250,2500......5000 |
|
总长mm |
电压型行程数值+146mm(两端缓冲行程)+36mm(插头) |
|
电流型行程mm |
其行程均可以在电压型行程数值的基础上进行调整,如:电压型行程130mm,可以调整为100~130mm;电压型行程2000mm,可以调整为1750~2000mm |
六、订购指引
FL-921-XXXXmm-Y-Z
说明FL-921代表是通用滑块系列磁致伸缩位移传感器
XXXX代表有效行程:0075mm代表75mm;0250mm代表125mm;1250mm代表1250mm。
Y代表输出信号:V代表输出0~10Vdc和10~0Vdc两种输出;
A代表输出4~20mA和20~4mA两种输出。
Z代表磁滑块型式:1代表卡式滑块;2代表浮动式滑块。
七、产品构成及装箱单
V型输出产品:V型输出传感器本体、磁性滑块、V型插头、安装支架2个、螺丝4个、产品介绍及说明;
A型输出产品:V型输出传感器本体、磁性滑块、V/A型插头、安装支架2个、螺丝4个、产品介绍及说明;
FL-921 通用滑块系列磁致伸缩绝对位移传感器是专门为机器通用型外置安装所设计,提供高精度(精度高达0.01%FS)、直接和绝对的位置检测反馈。该系列产品响应频率高、刷新快(2000Hz)、抗干扰、迟滞小(0.5ms)、精度高,适应高速运动系统的实时测控,也适应复杂的干扰环境(抗变频干扰)。无接触式的特点避免了机械磨损,保证了理论上的无限使用寿命。位置的检测依靠卡式滑块或浮动式滑块,滑块的型式由客户订货时确定。
防护等级IP65可以对于在复杂和恶劣的使用环境中的传感器提供充分的保护。DIN43650通用插接头,广泛使用于设备的液压设备中,非常便于现场的接线安装。插接头有几个特点:①通用插接头内置的特殊双投开关可以使客户选择信号的逻辑方向,如:将0~10V输出切换成10~0V输出,或相反;②特殊的V/A插接头可以将电压输出信号转换成电流输出信号,并通过内置的双投开关选择信号的方向,如:将4~20mA转换成20~4mA。电流信号传输距离可以达到500米。③电流型输出两端基准为可向内调整。④无须客户在内部接线,避免了失误的可能。
传感器的安装可以依靠两个支架很好地安装就位,并可靠接地。(http://www.fx-sensor.com 010-51295202)
一、整体安装尺寸图(插头高36mm)(http://www.fx-sensor.com 010-51295202)
二、磁滑块图(http://www.fx-sensor.com 010-51295202)
三、接线图(http://www.fx-sensor.com 010-51295202)
四、基本参数
测量型式 直线位移
输入电压 24Vdc (20.4~28.8Vdc)
输入保护 极性保护:反向电压至30Vdc,正向最高电压至36Vdc
电流消耗 50~140mA(依工作行程而变化)
绝缘强度 500Vdc (电源地与设备地之间)
输出 0~10Vdc 和 10~0Vdc 两种输出,最小负载电阻5KΩ
4~20mA 和 20~4mA 两种输出,最大负载电阻700Ω
分辨率 无限分辨(取决于控制器A/D与电源波纹)
重复精度 <±0.005%FS
线性精度 <±0.01%FS (最小±90μm)
刷新频率 1200mm行程为0.5ms / 2400 mm行程为1.0ms
4800mm行程为2.ms / 7600mm行程为5.0ms
工作温度 -40 ~ +85℃
防护等级 IP67
振动试验 5g / 10 ~ 2000Hz 符合IEC standard 68-2-6
冲击试验 50g 单次冲击,符合IEC standard 68-2-27
壳体材料 阳极硬化处理铝外壳
五、标准行程规格参数(http://www.fx-sensor.com 010-51295202)
|
行程mm (电压型) |
100,130,150,175,200,225,275,300,360,400,425,450,500,525,550,600,650,750,800,875, 900,950,1000,1100,1250,1350,1500,1600,1750,2000,2250,2500......5000 |
|
总长mm |
电压型行程数值+146mm(两端缓冲行程)+36mm(插头) |
|
电流型行程mm |
其行程均可以在电压型行程数值的基础上进行调整,如:电压型行程130mm,可以调整为100~130mm;电压型行程2000mm,可以调整为1750~2000mm |
六、订购指引
FL-921-XXXXmm-Y-Z
说明FL-921代表是通用滑块系列磁致伸缩位移传感器
XXXX代表有效行程:0075mm代表75mm;0250mm代表125mm;1250mm代表1250mm。
Y代表输出信号:V代表输出0~10Vdc和10~0Vdc两种输出;
A代表输出4~20mA和20~4mA两种输出。
Z代表磁滑块型式:1代表卡式滑块;2代表浮动式滑块。
七、产品构成及装箱单
V型输出产品:V型输出传感器本体、磁性滑块、V型插头、安装支架2个、螺丝4个、产品介绍及说明;
A型输出产品:V型输出传感器本体、磁性滑块、V/A型插头、安装支架2个、螺丝4个、产品介绍及说明;
FL-921 通用滑块系列磁致伸缩绝对位移传感器是专门为机器通用型外置安装所设计,提供高精度(精度高达0.01%FS)、直接和绝对的位置检测反馈。该系列产品响应频率高、刷新快(2000Hz)、抗干扰、迟滞小(0.5ms)、精度高,适应高速运动系统的实时测控,也适应复杂的干扰环境(抗变频干扰)。无接触式的特点避免了机械磨损,保证了理论上的无限使用寿命。位置的检测依靠卡式滑块或浮动式滑块,滑块的型式由客户订货时确定。
防护等级IP65可以对于在复杂和恶劣的使用环境中的传感器提供充分的保护。DIN43650通用插接头,广泛使用于设备的液压设备中,非常便于现场的接线安装。插接头有几个特点:①通用插接头内置的特殊双投开关可以使客户选择信号的逻辑方向,如:将0~10V输出切换成10~0V输出,或相反;②特殊的V/A插接头可以将电压输出信号转换成电流输出信号,并通过内置的双投开关选择信号的方向,如:将4~20mA转换成20~4mA。电流信号传输距离可以达到500米。③电流型输出两端基准为可向内调整。④无须客户在内部接线,避免了失误的可能。
传感器的安装可以依靠两个支架很好地安装就位,并可靠接地。(http://www.fx-sensor.com 010-51295202)
一、整体安装尺寸图(插头高36mm)(http://www.fx-sensor.com 010-51295202)
二、磁滑块图(http://www.fx-sensor.com 010-51295202)
三、接线图(http://www.fx-sensor.com 010-51295202)
四、基本参数
测量型式 直线位移
输入电压 24Vdc (20.4~28.8Vdc)
输入保护 极性保护:反向电压至30Vdc,正向最高电压至36Vdc
电流消耗 50~140mA(依工作行程而变化)
绝缘强度 500Vdc (电源地与设备地之间)
输出 0~10Vdc 和 10~0Vdc 两种输出,最小负载电阻5KΩ
4~20mA 和 20~4mA 两种输出,最大负载电阻700Ω
分辨率 无限分辨(取决于控制器A/D与电源波纹)
重复精度 <±0.005%FS
线性精度 <±0.01%FS (最小±90μm)
刷新频率 1200mm行程为0.5ms / 2400 mm行程为1.0ms
4800mm行程为2.ms / 7600mm行程为5.0ms
工作温度 -40 ~ +85℃
防护等级 IP67
振动试验 5g / 10 ~ 2000Hz 符合IEC standard 68-2-6
冲击试验 50g 单次冲击,符合IEC standard 68-2-27
壳体材料 阳极硬化处理铝外壳
五、标准行程规格参数(http://www.fx-sensor.com 010-51295202)
|
行程mm (电压型) |
100,130,150,175,200,225,275,300,360,400,425,450,500,525,550,600,650,750,800,875, 900,950,1000,1100,1250,1350,1500,1600,1750,2000,2250,2500......5000 |
|
总长mm |
电压型行程数值+146mm(两端缓冲行程)+36mm(插头) |
|
电流型行程mm |
其行程均可以在电压型行程数值的基础上进行调整,如:电压型行程130mm,可以调整为100~130mm;电压型行程2000mm,可以调整为1750~2000mm |
六、订购指引
FL-921-XXXXmm-Y-Z
说明FL-921代表是通用滑块系列磁致伸缩位移传感器
XXXX代表有效行程:0075mm代表75mm;0250mm代表125mm;1250mm代表1250mm。
Y代表输出信号:V代表输出0~10Vdc和10~0Vdc两种输出;
A代表输出4~20mA和20~4mA两种输出。
Z代表磁滑块型式:1代表卡式滑块;2代表浮动式滑块。
七、产品构成及装箱单
V型输出产品:V型输出传感器本体、磁性滑块、V型插头、安装支架2个、螺丝4个、产品介绍及说明;
A型输出产品:V型输出传感器本体、磁性滑块、V/A型插头、安装支架2个、螺丝4个、产品介绍及说明;

京公网安备 11011402011664号 京ICP备09029331号-22 QQ:987268138 E-mail:wjxyxy@126.com