FL-922油缸内置系列磁致伸缩绝对位移传感器是专门为液压油缸内置安装所设计,提供高精度(0.01%FS)、直接和绝对的位置检测反馈。该系列产品响应频率高、刷新快(2000Hz)、抗干扰、迟滞小(0.5ms)、精度高,适应高速液压运动(10m/s)系统的实时测控,也适应复杂干扰环境(抗变频干扰)。无接触式的特点避免了机械磨损,保证了理论上的无限使用寿命。紧固法兰和测杆由优质不锈钢制造,可以直接伸入高压液压缸内,而不会出现腐蚀。设计采用分体结构,电子仓可以很方便地从法兰上拆卸和更换,可以避免油缸的漏油和泄压,保护了环境,也方便了快速维修。
防护等级IP65可以对于在复杂和恶劣的使用环境中的传感器提供充分的保护。DIN43650通用插接头,广泛使用于设备的液压设备中,非常便于现场的接线安装。插接头有几个特点:①通用插接头内置的特殊双投开关可以使客户选择信号的逻辑方向,如:将0~10V输出切换成10~0V输出,或相反;②特殊的V/A插接头可以将电压输出信号转换成电流输出信号,并通过内置的双投开关选择信号的方向,如:将4~20mA转换成20~4mA。电流信号传输距离可以达到500米。③电流型输出可以调整两端基准位。④无须客户在内部接线,避免了失误的可能。(http://www.fx-sensor.com 010-51295202)
一、磁环安装图(http://www.fx-sensor.com 010-51295202)
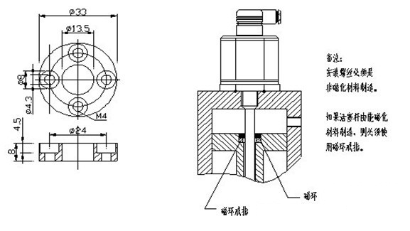
二、法兰紧固安装图(http://www.fx-sensor.com 010-51295202)
三、整体安装图(http://www.fx-sensor.com 010-51295202)
四、尺寸图(http://www.fx-sensor.com 010-51295202)
五、接线图(http://www.fx-sensor.com 010-51295202)
六、基本参数
测量型式 直线位移
输入电压 24Vdc (20.4~28.8Vdc)
输入保护 极性保护:反向电压至30Vdc,正向最高电压至36Vdc
电流消耗 50~140mA(依工作行程而变化)
绝缘强度 500Vdc (电源地与设备地之间)
输出 0~10Vdc 和 10~0Vdc 两种输出,最小负载电阻5KΩ
4~20mA 和 20~4mA 两种输出,最大负载电阻700Ω
分辨率 无限分辨(取决于控制器A/D与电源波纹)
重复精度 <±0.005%FS
线性精度 <±0.01%FS (最小±90μm)
刷新频率 1200mm行程为0.5ms / 2400 mm行程为1.0ms
4800mm行程为2.ms / 7600mm行程为5.0ms
工作温度 -40 ~ +85℃
防护等级 IP67
振动试验 5g / 10 ~ 2000Hz 符合IEC standard 68-2-6
冲击试验 50g 单次冲击,符合IEC standard 68-2-27
耐压等级 350bar / 600bar 峰值
安装螺丝 M20 x 2
本体材料 电子仓采用阳极氧化铝 / 测杆和安装法兰采用316不锈钢
七、标准行程规格参数
|
行程mm (电压型) |
100,130,150,175,200,225,275,300,360,400,425,450,500,525,550,600,650,750,800,875, 900,950,1000,1100,1250,1350,1500,1600,1750,2000,2250,2500......10000 |
|
总长mm |
电压型行程数值+146mm(两端缓冲行程)+36mm(插头) |
|
电流型行程mm |
其行程均可以在电压型行程数值的基础上进行调整,如:电压型行程130mm,可以调整为100~130mm;电压型行程2000mm,可以调整为1750~2000mm |
八、订购指引
FL-922-XXXXmm-Y
说明FL-922代表是油缸内置系列磁致伸缩位移传感器
XXXX代表有效行程:0075mm代表75mm;0250mm代表125mm;1250mm代表1250mm。
Y代表输出信号:V代表输出0~10Vdc和10~0Vdc两种输出;
A代表输出4~20mA和20~4mA两种输出。
九、产品构成及装箱单(http://www.fx-sensor.com 010-51295202)
V型输出产品:V型输出传感器本体、磁环(或磁环戒指)、V型插头、产品介绍及说明;
A型输出产品:V型输出传感器本体、磁环(或磁环戒指)、V/A型插头、产品介绍及说明;
十、电子仓更换指引(http://www.fx-sensor.com 010-51295202)
电子仓与法兰为分体式,当需要快速更换传感器时,电子仓可以非常容易地从法兰中取出并更换。可以实现现场的快速维修,避免液压系统的泄压和泄漏导致环境污染。(http://www.fx-sensor.com 010-51295202)
FL-922油缸内置系列磁致伸缩绝对位移传感器是专门为液压油缸内置安装所设计,提供高精度(0.01%FS)、直接和绝对的位置检测反馈。该系列产品响应频率高、刷新快(2000Hz)、抗干扰、迟滞小(0.5ms)、精度高,适应高速液压运动(10m/s)系统的实时测控,也适应复杂干扰环境(抗变频干扰)。无接触式的特点避免了机械磨损,保证了理论上的无限使用寿命。紧固法兰和测杆由优质不锈钢制造,可以直接伸入高压液压缸内,而不会出现腐蚀。设计采用分体结构,电子仓可以很方便地从法兰上拆卸和更换,可以避免油缸的漏油和泄压,保护了环境,也方便了快速维修。
防护等级IP65可以对于在复杂和恶劣的使用环境中的传感器提供充分的保护。DIN43650通用插接头,广泛使用于设备的液压设备中,非常便于现场的接线安装。插接头有几个特点:①通用插接头内置的特殊双投开关可以使客户选择信号的逻辑方向,如:将0~10V输出切换成10~0V输出,或相反;②特殊的V/A插接头可以将电压输出信号转换成电流输出信号,并通过内置的双投开关选择信号的方向,如:将4~20mA转换成20~4mA。电流信号传输距离可以达到500米。③电流型输出可以调整两端基准位。④无须客户在内部接线,避免了失误的可能。(http://www.fx-sensor.com 010-51295202)
一、磁环安装图(http://www.fx-sensor.com 010-51295202)
二、法兰紧固安装图(http://www.fx-sensor.com 010-51295202)
三、整体安装图(http://www.fx-sensor.com 010-51295202)
四、尺寸图(http://www.fx-sensor.com 010-51295202)
五、接线图(http://www.fx-sensor.com 010-51295202)
六、基本参数
测量型式 直线位移
输入电压 24Vdc (20.4~28.8Vdc)
输入保护 极性保护:反向电压至30Vdc,正向最高电压至36Vdc
电流消耗 50~140mA(依工作行程而变化)
绝缘强度 500Vdc (电源地与设备地之间)
输出 0~10Vdc 和 10~0Vdc 两种输出,最小负载电阻5KΩ
4~20mA 和 20~4mA 两种输出,最大负载电阻700Ω
分辨率 无限分辨(取决于控制器A/D与电源波纹)
重复精度 <±0.005%FS
线性精度 <±0.01%FS (最小±90μm)
刷新频率 1200mm行程为0.5ms / 2400 mm行程为1.0ms
4800mm行程为2.ms / 7600mm行程为5.0ms
工作温度 -40 ~ +85℃
防护等级 IP67
振动试验 5g / 10 ~ 2000Hz 符合IEC standard 68-2-6
冲击试验 50g 单次冲击,符合IEC standard 68-2-27
耐压等级 350bar / 600bar 峰值
安装螺丝 M20 x 2
本体材料 电子仓采用阳极氧化铝 / 测杆和安装法兰采用316不锈钢
七、标准行程规格参数
|
行程mm (电压型) |
100,130,150,175,200,225,275,300,360,400,425,450,500,525,550,600,650,750,800,875, 900,950,1000,1100,1250,1350,1500,1600,1750,2000,2250,2500......10000 |
|
总长mm |
电压型行程数值+146mm(两端缓冲行程)+36mm(插头) |
|
电流型行程mm |
其行程均可以在电压型行程数值的基础上进行调整,如:电压型行程130mm,可以调整为100~130mm;电压型行程2000mm,可以调整为1750~2000mm |
八、订购指引
FL-922-XXXXmm-Y
说明FL-922代表是油缸内置系列磁致伸缩位移传感器
XXXX代表有效行程:0075mm代表75mm;0250mm代表125mm;1250mm代表1250mm。
Y代表输出信号:V代表输出0~10Vdc和10~0Vdc两种输出;
A代表输出4~20mA和20~4mA两种输出。
九、产品构成及装箱单(http://www.fx-sensor.com 010-51295202)
V型输出产品:V型输出传感器本体、磁环(或磁环戒指)、V型插头、产品介绍及说明;
A型输出产品:V型输出传感器本体、磁环(或磁环戒指)、V/A型插头、产品介绍及说明;
十、电子仓更换指引(http://www.fx-sensor.com 010-51295202)
电子仓与法兰为分体式,当需要快速更换传感器时,电子仓可以非常容易地从法兰中取出并更换。可以实现现场的快速维修,避免液压系统的泄压和泄漏导致环境污染。(http://www.fx-sensor.com 010-51295202)
FL-922油缸内置系列磁致伸缩绝对位移传感器是专门为液压油缸内置安装所设计,提供高精度(0.01%FS)、直接和绝对的位置检测反馈。该系列产品响应频率高、刷新快(2000Hz)、抗干扰、迟滞小(0.5ms)、精度高,适应高速液压运动(10m/s)系统的实时测控,也适应复杂干扰环境(抗变频干扰)。无接触式的特点避免了机械磨损,保证了理论上的无限使用寿命。紧固法兰和测杆由优质不锈钢制造,可以直接伸入高压液压缸内,而不会出现腐蚀。设计采用分体结构,电子仓可以很方便地从法兰上拆卸和更换,可以避免油缸的漏油和泄压,保护了环境,也方便了快速维修。
防护等级IP65可以对于在复杂和恶劣的使用环境中的传感器提供充分的保护。DIN43650通用插接头,广泛使用于设备的液压设备中,非常便于现场的接线安装。插接头有几个特点:①通用插接头内置的特殊双投开关可以使客户选择信号的逻辑方向,如:将0~10V输出切换成10~0V输出,或相反;②特殊的V/A插接头可以将电压输出信号转换成电流输出信号,并通过内置的双投开关选择信号的方向,如:将4~20mA转换成20~4mA。电流信号传输距离可以达到500米。③电流型输出可以调整两端基准位。④无须客户在内部接线,避免了失误的可能。(http://www.fx-sensor.com 010-51295202)
一、磁环安装图(http://www.fx-sensor.com 010-51295202)
二、法兰紧固安装图(http://www.fx-sensor.com 010-51295202)
三、整体安装图(http://www.fx-sensor.com 010-51295202)
四、尺寸图(http://www.fx-sensor.com 010-51295202)
五、接线图(http://www.fx-sensor.com 010-51295202)
六、基本参数
测量型式 直线位移
输入电压 24Vdc (20.4~28.8Vdc)
输入保护 极性保护:反向电压至30Vdc,正向最高电压至36Vdc
电流消耗 50~140mA(依工作行程而变化)
绝缘强度 500Vdc (电源地与设备地之间)
输出 0~10Vdc 和 10~0Vdc 两种输出,最小负载电阻5KΩ
4~20mA 和 20~4mA 两种输出,最大负载电阻700Ω
分辨率 无限分辨(取决于控制器A/D与电源波纹)
重复精度 <±0.005%FS
线性精度 <±0.01%FS (最小±90μm)
刷新频率 1200mm行程为0.5ms / 2400 mm行程为1.0ms
4800mm行程为2.ms / 7600mm行程为5.0ms
工作温度 -40 ~ +85℃
防护等级 IP67
振动试验 5g / 10 ~ 2000Hz 符合IEC standard 68-2-6
冲击试验 50g 单次冲击,符合IEC standard 68-2-27
耐压等级 350bar / 600bar 峰值
安装螺丝 M20 x 2
本体材料 电子仓采用阳极氧化铝 / 测杆和安装法兰采用316不锈钢
七、标准行程规格参数
|
行程mm (电压型) |
100,130,150,175,200,225,275,300,360,400,425,450,500,525,550,600,650,750,800,875, 900,950,1000,1100,1250,1350,1500,1600,1750,2000,2250,2500......10000 |
|
总长mm |
电压型行程数值+146mm(两端缓冲行程)+36mm(插头) |
|
电流型行程mm |
其行程均可以在电压型行程数值的基础上进行调整,如:电压型行程130mm,可以调整为100~130mm;电压型行程2000mm,可以调整为1750~2000mm |
八、订购指引
FL-922-XXXXmm-Y
说明FL-922代表是油缸内置系列磁致伸缩位移传感器
XXXX代表有效行程:0075mm代表75mm;0250mm代表125mm;1250mm代表1250mm。
Y代表输出信号:V代表输出0~10Vdc和10~0Vdc两种输出;
A代表输出4~20mA和20~4mA两种输出。
九、产品构成及装箱单(http://www.fx-sensor.com 010-51295202)
V型输出产品:V型输出传感器本体、磁环(或磁环戒指)、V型插头、产品介绍及说明;
A型输出产品:V型输出传感器本体、磁环(或磁环戒指)、V/A型插头、产品介绍及说明;
十、电子仓更换指引(http://www.fx-sensor.com 010-51295202)
电子仓与法兰为分体式,当需要快速更换传感器时,电子仓可以非常容易地从法兰中取出并更换。可以实现现场的快速维修,避免液压系统的泄压和泄漏导致环境污染。(http://www.fx-sensor.com 010-51295202)
FL-922油缸内置系列磁致伸缩绝对位移传感器是专门为液压油缸内置安装所设计,提供高精度(0.01%FS)、直接和绝对的位置检测反馈。该系列产品响应频率高、刷新快(2000Hz)、抗干扰、迟滞小(0.5ms)、精度高,适应高速液压运动(10m/s)系统的实时测控,也适应复杂干扰环境(抗变频干扰)。无接触式的特点避免了机械磨损,保证了理论上的无限使用寿命。紧固法兰和测杆由优质不锈钢制造,可以直接伸入高压液压缸内,而不会出现腐蚀。设计采用分体结构,电子仓可以很方便地从法兰上拆卸和更换,可以避免油缸的漏油和泄压,保护了环境,也方便了快速维修。
防护等级IP65可以对于在复杂和恶劣的使用环境中的传感器提供充分的保护。DIN43650通用插接头,广泛使用于设备的液压设备中,非常便于现场的接线安装。插接头有几个特点:①通用插接头内置的特殊双投开关可以使客户选择信号的逻辑方向,如:将0~10V输出切换成10~0V输出,或相反;②特殊的V/A插接头可以将电压输出信号转换成电流输出信号,并通过内置的双投开关选择信号的方向,如:将4~20mA转换成20~4mA。电流信号传输距离可以达到500米。③电流型输出可以调整两端基准位。④无须客户在内部接线,避免了失误的可能。(http://www.fx-sensor.com 010-51295202)
一、磁环安装图(http://www.fx-sensor.com 010-51295202)
二、法兰紧固安装图(http://www.fx-sensor.com 010-51295202)
三、整体安装图(http://www.fx-sensor.com 010-51295202)
四、尺寸图(http://www.fx-sensor.com 010-51295202)
五、接线图(http://www.fx-sensor.com 010-51295202)
六、基本参数
测量型式 直线位移
输入电压 24Vdc (20.4~28.8Vdc)
输入保护 极性保护:反向电压至30Vdc,正向最高电压至36Vdc
电流消耗 50~140mA(依工作行程而变化)
绝缘强度 500Vdc (电源地与设备地之间)
输出 0~10Vdc 和 10~0Vdc 两种输出,最小负载电阻5KΩ
4~20mA 和 20~4mA 两种输出,最大负载电阻700Ω
分辨率 无限分辨(取决于控制器A/D与电源波纹)
重复精度 <±0.005%FS
线性精度 <±0.01%FS (最小±90μm)
刷新频率 1200mm行程为0.5ms / 2400 mm行程为1.0ms
4800mm行程为2.ms / 7600mm行程为5.0ms
工作温度 -40 ~ +85℃
防护等级 IP67
振动试验 5g / 10 ~ 2000Hz 符合IEC standard 68-2-6
冲击试验 50g 单次冲击,符合IEC standard 68-2-27
耐压等级 350bar / 600bar 峰值
安装螺丝 M20 x 2
本体材料 电子仓采用阳极氧化铝 / 测杆和安装法兰采用316不锈钢
七、标准行程规格参数
|
行程mm (电压型) |
100,130,150,175,200,225,275,300,360,400,425,450,500,525,550,600,650,750,800,875, 900,950,1000,1100,1250,1350,1500,1600,1750,2000,2250,2500......10000 |
|
总长mm |
电压型行程数值+146mm(两端缓冲行程)+36mm(插头) |
|
电流型行程mm |
其行程均可以在电压型行程数值的基础上进行调整,如:电压型行程130mm,可以调整为100~130mm;电压型行程2000mm,可以调整为1750~2000mm |
八、订购指引
FL-922-XXXXmm-Y
说明FL-922代表是油缸内置系列磁致伸缩位移传感器
XXXX代表有效行程:0075mm代表75mm;0250mm代表125mm;1250mm代表1250mm。
Y代表输出信号:V代表输出0~10Vdc和10~0Vdc两种输出;
A代表输出4~20mA和20~4mA两种输出。
九、产品构成及装箱单(http://www.fx-sensor.com 010-51295202)
V型输出产品:V型输出传感器本体、磁环(或磁环戒指)、V型插头、产品介绍及说明;
A型输出产品:V型输出传感器本体、磁环(或磁环戒指)、V/A型插头、产品介绍及说明;
十、电子仓更换指引(http://www.fx-sensor.com 010-51295202)
电子仓与法兰为分体式,当需要快速更换传感器时,电子仓可以非常容易地从法兰中取出并更换。可以实现现场的快速维修,避免液压系统的泄压和泄漏导致环境污染。(http://www.fx-sensor.com 010-51295202)
FL-922油缸内置系列磁致伸缩绝对位移传感器是专门为液压油缸内置安装所设计,提供高精度(0.01%FS)、直接和绝对的位置检测反馈。该系列产品响应频率高、刷新快(2000Hz)、抗干扰、迟滞小(0.5ms)、精度高,适应高速液压运动(10m/s)系统的实时测控,也适应复杂干扰环境(抗变频干扰)。无接触式的特点避免了机械磨损,保证了理论上的无限使用寿命。紧固法兰和测杆由优质不锈钢制造,可以直接伸入高压液压缸内,而不会出现腐蚀。设计采用分体结构,电子仓可以很方便地从法兰上拆卸和更换,可以避免油缸的漏油和泄压,保护了环境,也方便了快速维修。
防护等级IP65可以对于在复杂和恶劣的使用环境中的传感器提供充分的保护。DIN43650通用插接头,广泛使用于设备的液压设备中,非常便于现场的接线安装。插接头有几个特点:①通用插接头内置的特殊双投开关可以使客户选择信号的逻辑方向,如:将0~10V输出切换成10~0V输出,或相反;②特殊的V/A插接头可以将电压输出信号转换成电流输出信号,并通过内置的双投开关选择信号的方向,如:将4~20mA转换成20~4mA。电流信号传输距离可以达到500米。③电流型输出可以调整两端基准位。④无须客户在内部接线,避免了失误的可能。(http://www.fx-sensor.com 010-51295202)
一、磁环安装图(http://www.fx-sensor.com 010-51295202)
二、法兰紧固安装图(http://www.fx-sensor.com 010-51295202)
三、整体安装图(http://www.fx-sensor.com 010-51295202)
四、尺寸图(http://www.fx-sensor.com 010-51295202)
五、接线图(http://www.fx-sensor.com 010-51295202)
六、基本参数
测量型式 直线位移
输入电压 24Vdc (20.4~28.8Vdc)
输入保护 极性保护:反向电压至30Vdc,正向最高电压至36Vdc
电流消耗 50~140mA(依工作行程而变化)
绝缘强度 500Vdc (电源地与设备地之间)
输出 0~10Vdc 和 10~0Vdc 两种输出,最小负载电阻5KΩ
4~20mA 和 20~4mA 两种输出,最大负载电阻700Ω
分辨率 无限分辨(取决于控制器A/D与电源波纹)
重复精度 <±0.005%FS
线性精度 <±0.01%FS (最小±90μm)
刷新频率 1200mm行程为0.5ms / 2400 mm行程为1.0ms
4800mm行程为2.ms / 7600mm行程为5.0ms
工作温度 -40 ~ +85℃
防护等级 IP67
振动试验 5g / 10 ~ 2000Hz 符合IEC standard 68-2-6
冲击试验 50g 单次冲击,符合IEC standard 68-2-27
耐压等级 350bar / 600bar 峰值
安装螺丝 M20 x 2
本体材料 电子仓采用阳极氧化铝 / 测杆和安装法兰采用316不锈钢
七、标准行程规格参数
|
行程mm (电压型) |
100,130,150,175,200,225,275,300,360,400,425,450,500,525,550,600,650,750,800,875, 900,950,1000,1100,1250,1350,1500,1600,1750,2000,2250,2500......10000 |
|
总长mm |
电压型行程数值+146mm(两端缓冲行程)+36mm(插头) |
|
电流型行程mm |
其行程均可以在电压型行程数值的基础上进行调整,如:电压型行程130mm,可以调整为100~130mm;电压型行程2000mm,可以调整为1750~2000mm |
八、订购指引
FL-922-XXXXmm-Y
说明FL-922代表是油缸内置系列磁致伸缩位移传感器
XXXX代表有效行程:0075mm代表75mm;0250mm代表125mm;1250mm代表1250mm。
Y代表输出信号:V代表输出0~10Vdc和10~0Vdc两种输出;
A代表输出4~20mA和20~4mA两种输出。
九、产品构成及装箱单(http://www.fx-sensor.com 010-51295202)
V型输出产品:V型输出传感器本体、磁环(或磁环戒指)、V型插头、产品介绍及说明;
A型输出产品:V型输出传感器本体、磁环(或磁环戒指)、V/A型插头、产品介绍及说明;
十、电子仓更换指引(http://www.fx-sensor.com 010-51295202)
电子仓与法兰为分体式,当需要快速更换传感器时,电子仓可以非常容易地从法兰中取出并更换。可以实现现场的快速维修,避免液压系统的泄压和泄漏导致环境污染。(http://www.fx-sensor.com 010-51295202)

京公网安备 11011402011664号 京ICP备09029331号-22 QQ:987268138 E-mail:wjxyxy@126.com