FW-602 平行梁式称重传感器
量程范围(kg) :3、5、6、10、15、20、30、40、50、60、100
功能特点:传感器弹性体采用铝合金材质;无色阳极化处理;胶密封 ;
应用范围:广泛用于电子计价秤、计重秤等小台面电子秤。
|
技术指标明细: |
||
|
精度等级 : C2 |
灵敏度温度影响(%F.S/10℃): ±0.02 |
|
|
综合误差(%F.S) : ±0.03 |
零点温度影响(%F.S/10℃) : ±0.03 |
|
|
灵敏度(mv/v) : 2.0±0.1 |
温度补偿范围(℃ ) : -10~+40 |
|
|
蠕变(%F.S/30min) : ±0.02 |
使用温度影响(℃ ) : -20~+60 |
|
|
零点输出(%F.S) : ±1.0 |
激励电压(V) : 9~12(DC) |
|
|
输入阻抗(Ω) : 405±10 |
安全过载范围 (%F.S) : 120 |
|
|
输入阻抗(Ω) : 350±3 |
极限过载范围 (%F.S) : 150 |
|
|
绝缘电阻(MΩ) : ≥5000(100VDC) |
防护等级 : IP65 |
|
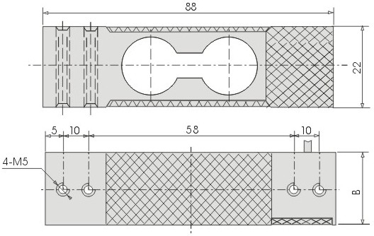
安装尺寸规格图 (单位mm):(http://www.fx-sensor.com 010-51295202)
接线方式:
红线: 输入 ( + ) 111 白线: 输出 ( - )
黑线: 输入 ( - ) 111 绿线: 输入 ( + )
备注:采用四芯屏蔽电缆,标准线长为3米,如有特殊需要,可根据客户要求提供!
受力示意图: (http://www.fx-sensor.com 010-51295202)

FW-602 平行梁式称重传感器
量程范围(kg) :3、5、6、10、15、20、30、40、50、60、100
功能特点:传感器弹性体采用铝合金材质;无色阳极化处理;胶密封 ;
应用范围:广泛用于电子计价秤、计重秤等小台面电子秤。
|
技术指标明细: |
||
|
精度等级 : C2 |
灵敏度温度影响(%F.S/10℃): ±0.02 |
|
|
综合误差(%F.S) : ±0.03 |
零点温度影响(%F.S/10℃) : ±0.03 |
|
|
灵敏度(mv/v) : 2.0±0.1 |
温度补偿范围(℃ ) : -10~+40 |
|
|
蠕变(%F.S/30min) : ±0.02 |
使用温度影响(℃ ) : -20~+60 |
|
|
零点输出(%F.S) : ±1.0 |
激励电压(V) : 9~12(DC) |
|
|
输入阻抗(Ω) : 405±10 |
安全过载范围 (%F.S) : 120 |
|
|
输入阻抗(Ω) : 350±3 |
极限过载范围 (%F.S) : 150 |
|
|
绝缘电阻(MΩ) : ≥5000(100VDC) |
防护等级 : IP65 |
|
安装尺寸规格图 (单位mm):(http://www.fx-sensor.com 010-51295202)
接线方式:
红线: 输入 ( + ) 111 白线: 输出 ( - )
黑线: 输入 ( - ) 111 绿线: 输入 ( + )
备注:采用四芯屏蔽电缆,标准线长为3米,如有特殊需要,可根据客户要求提供!
受力示意图: (http://www.fx-sensor.com 010-51295202)

FW-602 平行梁式称重传感器
量程范围(kg) :3、5、6、10、15、20、30、40、50、60、100
功能特点:传感器弹性体采用铝合金材质;无色阳极化处理;胶密封 ;
应用范围:广泛用于电子计价秤、计重秤等小台面电子秤。
|
技术指标明细: |
||
|
精度等级 : C2 |
灵敏度温度影响(%F.S/10℃): ±0.02 |
|
|
综合误差(%F.S) : ±0.03 |
零点温度影响(%F.S/10℃) : ±0.03 |
|
|
灵敏度(mv/v) : 2.0±0.1 |
温度补偿范围(℃ ) : -10~+40 |
|
|
蠕变(%F.S/30min) : ±0.02 |
使用温度影响(℃ ) : -20~+60 |
|
|
零点输出(%F.S) : ±1.0 |
激励电压(V) : 9~12(DC) |
|
|
输入阻抗(Ω) : 405±10 |
安全过载范围 (%F.S) : 120 |
|
|
输入阻抗(Ω) : 350±3 |
极限过载范围 (%F.S) : 150 |
|
|
绝缘电阻(MΩ) : ≥5000(100VDC) |
防护等级 : IP65 |
|
安装尺寸规格图 (单位mm):(http://www.fx-sensor.com 010-51295202)
接线方式:
红线: 输入 ( + ) 111 白线: 输出 ( - )
黑线: 输入 ( - ) 111 绿线: 输入 ( + )
备注:采用四芯屏蔽电缆,标准线长为3米,如有特殊需要,可根据客户要求提供!
受力示意图: (http://www.fx-sensor.com 010-51295202)

FW-602 平行梁式称重传感器
量程范围(kg) :3、5、6、10、15、20、30、40、50、60、100
功能特点:传感器弹性体采用铝合金材质;无色阳极化处理;胶密封 ;
应用范围:广泛用于电子计价秤、计重秤等小台面电子秤。
|
技术指标明细: |
||
|
精度等级 : C2 |
灵敏度温度影响(%F.S/10℃): ±0.02 |
|
|
综合误差(%F.S) : ±0.03 |
零点温度影响(%F.S/10℃) : ±0.03 |
|
|
灵敏度(mv/v) : 2.0±0.1 |
温度补偿范围(℃ ) : -10~+40 |
|
|
蠕变(%F.S/30min) : ±0.02 |
使用温度影响(℃ ) : -20~+60 |
|
|
零点输出(%F.S) : ±1.0 |
激励电压(V) : 9~12(DC) |
|
|
输入阻抗(Ω) : 405±10 |
安全过载范围 (%F.S) : 120 |
|
|
输入阻抗(Ω) : 350±3 |
极限过载范围 (%F.S) : 150 |
|
|
绝缘电阻(MΩ) : ≥5000(100VDC) |
防护等级 : IP65 |
|
安装尺寸规格图 (单位mm):(http://www.fx-sensor.com 010-51295202)
接线方式:
红线: 输入 ( + ) 111 白线: 输出 ( - )
黑线: 输入 ( - ) 111 绿线: 输入 ( + )
备注:采用四芯屏蔽电缆,标准线长为3米,如有特殊需要,可根据客户要求提供!
受力示意图: (http://www.fx-sensor.com 010-51295202)

FW-602 平行梁式称重传感器
量程范围(kg) :3、5、6、10、15、20、30、40、50、60、100
功能特点:传感器弹性体采用铝合金材质;无色阳极化处理;胶密封 ;
应用范围:广泛用于电子计价秤、计重秤等小台面电子秤。
|
技术指标明细: |
||
|
精度等级 : C2 |
灵敏度温度影响(%F.S/10℃): ±0.02 |
|
|
综合误差(%F.S) : ±0.03 |
零点温度影响(%F.S/10℃) : ±0.03 |
|
|
灵敏度(mv/v) : 2.0±0.1 |
温度补偿范围(℃ ) : -10~+40 |
|
|
蠕变(%F.S/30min) : ±0.02 |
使用温度影响(℃ ) : -20~+60 |
|
|
零点输出(%F.S) : ±1.0 |
激励电压(V) : 9~12(DC) |
|
|
输入阻抗(Ω) : 405±10 |
安全过载范围 (%F.S) : 120 |
|
|
输入阻抗(Ω) : 350±3 |
极限过载范围 (%F.S) : 150 |
|
|
绝缘电阻(MΩ) : ≥5000(100VDC) |
防护等级 : IP65 |
|
安装尺寸规格图 (单位mm):(http://www.fx-sensor.com 010-51295202)
接线方式:
红线: 输入 ( + ) 111 白线: 输出 ( - )
黑线: 输入 ( - ) 111 绿线: 输入 ( + )
备注:采用四芯屏蔽电缆,标准线长为3米,如有特殊需要,可根据客户要求提供!
受力示意图: (http://www.fx-sensor.com 010-51295202)


京公网安备 11011402011664号 京ICP备09029331号-22 QQ:987268138 E-mail:wjxyxy@126.com